说到多伦多的房产大戏,跑马径(The Bridle Path)这个区总不会让人失望,而位于45 Park Lane Circ.的这处,就是最新的一出“连续剧”。

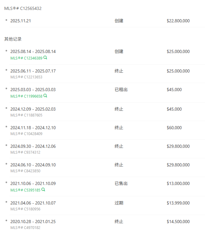
这栋超现代的豪宅最初在2024年以$2980万的价格上市,随后在2025年降到了$2500万。但现在,它又以“授权出售”(Power of Sale)的形式重新挂牌,价格骤降至$2280万——在加拿大最顶级的豪宅区之一,这是一个令人咋舌的暴跌。
如果这个地址听起来有点耳熟,那确实是。

早在2021年,这栋位于Drake宫殿式豪宅同一条标志性街道上的豪宅,就曾因以$1300万的价格成交而登上新闻头条。该豪宅的挂牌和成交历史记录如下:

新业主花了数年时间,将其彻底改造成一座充满加州风情的建筑杰作——但现在,这处物业却被贷款方接管了。
“像这种高端物业,即使是亿万富翁的房产,也可能因为巨额债务、生意失败或突发市场崩盘而拖欠贷款,最终面临‘授权出售’(或叫‘止赎’,foreclosure)。”房产经纪人Jane Zhang告诉blogTO。
换句话说:即使在超级富豪的世界里,也可能遭遇变故。

这栋豪宅由Tiarch Architect在2024年重新设计,完全重建成为一个占地2.15英亩、拥有精心修剪园景、面积达14,200平方英尺的现代样板房。
从穿过私人大门的那一刻起,一切都显得尺寸巨大、光鲜亮丽且充满戏剧性。

其美学设计完全倾向于大胆的加州现代风格:混凝土和钢结构,白色和中性色调,随处可见的发光玻璃表面、珍贵石材点缀以及超高档的装修。
室内感觉宽敞明亮,阳光充足,且经过精心布置。


厨房采用Scavolini品牌,配有石英石中岛、专业级厨师电器、地暖和一个宽敞的用餐区——看起来就像是为周末招待米其林大厨的主人设计的。

经过翻新的地下室,可以通过一个“太空舱”式的玻璃电梯进入,看起来就像一个集健康与娱乐为一体的中心:升级后的影院、设备齐全的健身房、蒸汽水疗室、娱乐室和专门的酒窖。

整个住宅被“亲生物设计”(biophilic design)理念所包围——巨大的天窗、室内花园、冥想角、分层露台、如画的窗户,以及一个巨大的、能让人感觉融入大自然的步出式出口(walk-out)。


室外设施也近乎“超现实”:302英尺的临街宽度、度假村风格的泳池和按摩浴缸、带有融雪车道的僻静庭院、私人网球场,以及足以经营一家小型精品酒店的休闲区域。
它宏伟大气、私密性极高,是“多伦多奢华”的代名词。


但尽管外表光鲜,这次出售却充满了紧迫感,毫无情感因素。
这种级别的“授权出售”房源极为罕见。虽然价格仍然是天文数字,但从将近$3000万降到$2280万,表明贷款方希望快速脱手。

买家需要接受“现状”购买(as-is sale),没有保修,也不能就维修进行任何协商,但这同时也意味着有机会以跑马径多年来最激进的价格,抢购到一处超级豪宅。


